
【產品用途】
集團生產的大口徑法蘭閘閥廣泛適用于石油化工,火力發電廠等油品、水蒸氣管路上作接通或截斷管路中介質的啟閉裝置
【產品特點】
1、結構緊湊、設計合理、閥門剛性好、通道流暢,流量系數小
2、密封面采用不銹鋼和硬質合金,使用壽命長
3、采用柔性石墨填料、密封可靠,操作輕便靈活
4、驅動方式為手動、氣動、電動、齒輪傳動
5、結構形式為彈性楔式單閘板、剛性楔式單閘板雙閘板型式
【執行標準】
設計規范:GB/T 12234
結構長度:GB/T 12221
連接法蘭:JB/T 79.1
試驗與檢驗:JB/T 9092
壓力-溫度:GB/T 9131
產品標識:GB/T 12220
【性能參數】
|
公稱壓力PN(MPa) |
殼體 |
試驗壓力(MPa) |
上密封 |
|
|
密封(液) |
密封(氣) |
|||
|
1.6 |
2.4 |
1.8 |
0.6 |
1.8 |
|
2.5 |
3.8 |
2.8 |
0.6 |
2.8 |
|
4.0 |
6.0 |
4.4 |
0.6 |
4.4 |
|
6.4 |
9.6 |
7.0 |
0.6 |
7.0 |
|
10.0 |
15.0 |
11.0 |
0.6 |
11.0 |
|
16.0 |
24.0 |
18.0 |
0.6 |
18.0 |
【適用介質和適用溫度】
|
殼體材料 |
適用介質 |
適用溫度(℃) |
|
碳素鋼(C型) |
水、蒸汽、油品 |
≤425 |
|
鉻鎳鈦鋼(P型) |
硝酸類 |
≤200 |
|
鉻鎳鉬鈦鋼(R型) |
醋酸類 |
≤200 |
|
鉻鉬鋼(I型) |
水、蒸汽、油品 |
≤550 |
【主要零件材料】
|
閥體、閥蓋 |
閥板、閥座 |
閥桿 |
閥桿螺母 |
填料 |
手輪 |
|
碳素鋼 |
優良碳鋼+硬質合金或不銹鋼 |
鉻不銹鋼 |
鋁青銅 |
石墨石棉盤根 |
可鍛鑄鐵 |
|
鉻鎳鈦鋼 |
不銹鋼、不銹鋼+硬質合金 |
鉻鎳鈦不銹鋼 |
鋁青銅 |
聚四氟乙烯 |
可鍛鑄鐵 |
|
鉻鎳鉬鈦鋼 |
不銹鋼、不銹鋼+硬質合金 |
鉻鎳鈦不銹鋼 |
鋁青銅 |
聚四氟乙烯 |
可鍛鑄鐵 |
|
鉻鉬鋼 |
合金鋼+硬質合金 |
鉻鉬鋼 |
鋁青銅 |
柔性石棉 |
可鍛鑄鐵 |
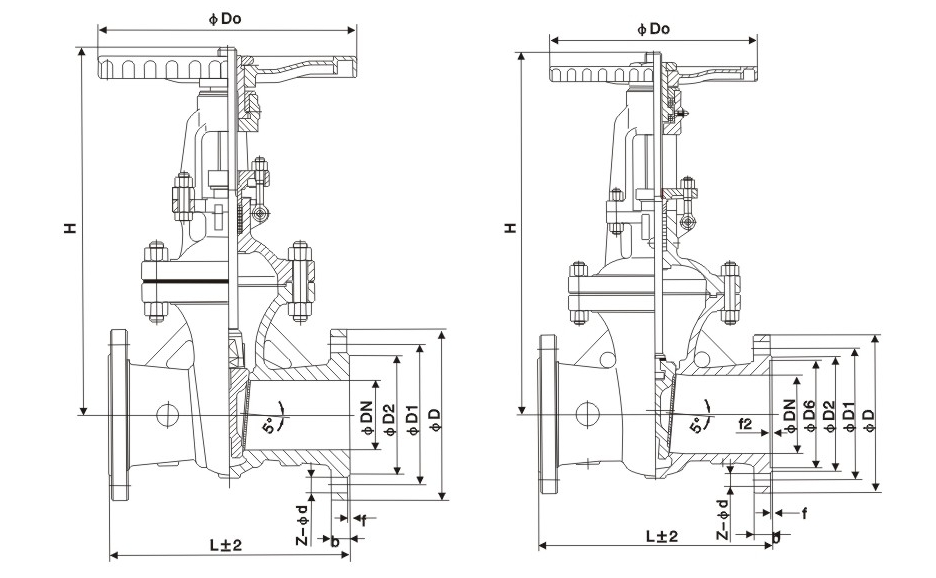
【主要外形和連接尺寸】
|
公稱通徑 |
主要外形尺寸和連接尺寸 |
|||||||
|
L |
D |
D1 |
D2 |
b |
Z-d |
H |
D0 |
|
|
Z41H-16 |
||||||||
|
15 |
130 |
95 |
65 |
45 |
14-2 |
4-Φ14 |
170 |
120 |
|
20 |
150 |
105 |
75 |
55 |
14-2 |
4-Φ14 |
190 |
140 |
|
25 |
160 |
115 |
85 |
65 |
14-2 |
4-Φ14 |
205 |
160 |
|
32 |
180 |
135 |
100 |
78 |
16-2 |
4-Φ18 |
270 |
180 |
|
40 |
200 |
145 |
110 |
85 |
16-3 |
4-Φ18 |
310 |
200 |
|
50 |
250 |
160 |
125 |
100 |
16-3 |
4-Φ18 |
358 |
240 |
|
65 |
265 |
180 |
145 |
120 |
18-3 |
4-Φ18 |
373 |
240 |
|
80 |
280 |
195 |
160 |
135 |
20-3 |
8-Φ18 |
435 |
280 |
|
100 |
300 |
215 |
180 |
155 |
20-3 |
8-Φ18 |
500 |
300 |
|
125 |
325 |
245 |
210 |
185 |
22-3 |
8-Φ18 |
614 |
320 |
|
150 |
350 |
280 |
240 |
210 |
24-3 |
8-Φ23 |
674 |
360 |
|
200 |
400 |
335 |
295 |
265 |
26-3 |
12-Φ23 |
811 |
400 |
|
250 |
450 |
405 |
355 |
320 |
30-3 |
12-Φ25 |
969 |
450 |
|
300 |
500 |
460 |
410 |
375 |
30-3 |
12-Φ25 |
1145 |
580 |
|
350 |
550 |
520 |
470 |
435 |
34-4 |
16-Φ25 |
1280 |
640 |
|
400 |
600 |
580 |
525 |
485 |
36-4 |
16-Φ30 |
1452 |
640 |
|
450 |
650 |
640 |
585 |
545 |
40-4 |
20-Φ30 |
1541 |
720 |
|
500 |
700 |
705 |
650 |
608 |
44-4 |
20-Φ34 |
1880 |
720 |
|
600 |
800 |
840 |
770 |
718 |
48-5 |
20-Φ36 |
1874 |
800 |
|
700 |
900 |
910 |
840 |
788 |
50-5 |
24-Φ41 |
2083 |
800 |
|
800 |
1000 |
1020 |
950 |
898 |
52-5 |
24-Φ41 |
2400 |
850 |
|
900 |
1100 |
1120 |
1050 |
998 |
54-5 |
28-Φ41 |
2950 |
1000 |
|
1000 |
1200 |
1255 |
1170 |
1110 |
56-5 |
28-Φ48 |
3245 |
1000 |
|
Z41H-25 |
||||||||
|
15 |
130 |
95 |
65 |
45 |
16-2 |
4-Φ14 |
170 |
120 |
|
20 |
150 |
105 |
75 |
55 |
16-2 |
4-Φ14 |
190 |
140 |
|
25 |
160 |
115 |
85 |
65 |
16-2 |
4-Φ14 |
205 |
160 |
|
32 |
180 |
135 |
100 |
78 |
18-2 |
4-Φ18 |
270 |
180 |
|
40 |
200 |
145 |
110 |
85 |
18-3 |
4-Φ18 |
310 |
200 |
|
50 |
250 |
160 |
125 |
100 |
20-3 |
4-Φ18 |
358 |
240 |
|
65 |
265 |
180 |
145 |
120 |
22-3 |
8-Φ18 |
373 |
240 |
|
80 |
280 |
195 |
160 |
135 |
22-3 |
8-Φ18 |
435 |
280 |
|
100 |
300 |
230 |
190 |
160 |
24-3 |
8-Φ23 |
500 |
300 |
|
125 |
325 |
270 |
220 |
188 |
28-3 |
8-Φ25 |
614 |
320 |
|
150 |
350 |
300 |
250 |
218 |
30-3 |
8-Φ25 |
674 |
360 |
|
200 |
400 |
360 |
310 |
278 |
34-3 |
12-Φ25 |
811 |
400 |
|
250 |
450 |
425 |
370 |
332 |
36-3 |
12-Φ30 |
969 |
450 |
|
300 |
500 |
485 |
430 |
390 |
40-4 |
16-Φ30 |
1145 |
580 |
|
350 |
550 |
550 |
490 |
448 |
44-4 |
16-Φ34 |
1280 |
640 |
|
400 |
600 |
610 |
550 |
505 |
48-4 |
16-Φ34 |
1452 |
640 |
|
450 |
650 |
660 |
600 |
555 |
50-4 |
20-Φ34 |
1541 |
720 |
|
500 |
700 |
730 |
660 |
610 |
52-4 |
20-Φ41 |
1676 |
720 |
|
600 |
800 |
840 |
770 |
718 |
56-5 |
20-Φ41 |
1874 |
800 |
|
700 |
900 |
955 |
875 |
815 |
60-5 |
24-Φ48 |
2083 |
800 |
|
800 |
1000 |
1070 |
990 |
930 |
64-5 |
24-Φ48 |
2400 |
950 |
|
900 |
1100 |
1180 |
1090 |
1025 |
66-5 |
28-Φ54 |
2950 |
1000 |
|
1000 |
1200 |
1305 |
1210 |
1140 |
68-5 |
28-Φ58 |
3245 |
1000 |
【結構圖片】

